小红箱
79 users
Developer: anrilolo
Version: 1.0.11
Updated: 2025-11-13
Available in the
Chrome Web Store
Chrome Web Store
Install & Try Now!
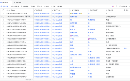
您可以随时在扩展设置中查看和控制权限范围 不会收集或传输非授权的个人敏感信息 小红箱是一款专为小红书用户设计的全能助手,帮助您轻松管理、导出和分析您的小红书笔记。这款扩展程序与小红书网站无缝集成,为您提供更高效的小红书使用体验。 关键词分析:发现热门关键词和趋势,优化您的内容策略 - 主要功能: 隐私与安全: 数据分析:全面分析笔记数据和效果表现,帮助您了解内容表现 笔记管理:高效整理和管理您的所有小红书笔记,一目了然掌握笔记状态 我们仅请求完成必要功能所需的最小权限范围 笔记导出:一键将笔记导出到本地或飞书,支持单篇导出和批量导出 小红箱 小红书笔记管家




